Il carburatore e la carburazione del kart
Il carburatore del kart e la miglior carburazione, sono per il motore di un go-kart il risultato delle sue prestazioni, considerando che quando si parla di kart da competizione, la maggior parte delle volte si parla di motori 2 tempi, motori che rendono più o meno potenza in base alla carburazione, motori che spesso si rompono se la carburazione è sbagliata, motori che nemmeno partono se non sono a posto di carburazione.
In molti si destreggiano in pista con carburazioni improvvisate, ma a far la differenza esisto veri maghi della carburazione. Trovare la giusta carburazione , nel momento giusto della giornata, con la temperatura che cambia dalla mattina alla sera, è tanto difficile quanto importante.
Il primo fattore da tenere sempre in considerazione per una giusta carburazione del kart è essere sicuri di avere il telaio a posto di assetto e rapporti “pignone e corona”. Questo perchè avendo i rapporti giusti, avremo i giri motore esatti in uscita di curva e in fondo al rettilineo, facilitando il nostro orecchio a sentire meglio anche lo stato della carburazione.
Nel video subito sotto il preparatore ascolta il rombo del kart appoggiato sul carrello per cercare di capire se c’è ancora possibilità di miglioramento della carburazione, in questo caso abbiamo un TM KZ R1, una vera sinfonia. La carburazione sopra il carrello è roba da professionisti, ci vuole esperienza e orecchio ben allenato.
Basta con le chiacchere, cerchiamo di capire qualcosa in più sul carburatore del kart e la carburazione per motori 2 tempi.
-Indice articolo
- Quanti modelli di carburatore esistono nel kart
- Carburatore 125 con cambio KZ
- Carburatore 60 minikart
- Carburatore 125 senza cambio OK -JUNIOR
- La carburazione giusta per il kart
- Come pulire il carburatore del kart
Quanti modelli di carburatore esistono nel kart ?
I modelli sono molti, ma carburatore a membrana e a ghigliottina sono i più utilizzati nel kart.
Col tempo anche i carburatori per motori kart hanno avuto evoluzioni seppure non eclatanti, elencarli tutti sarebbe impossibile, io vi elenco gli ultimi di questo periodo che si utilizzano nel 2021 da regolamento nelle gare , i carburatori usati nelle diverse categorie, dalla Mini kart fino ad arrivare alla KZ 125.
Carburatore per categoria 125 con cambio KZ
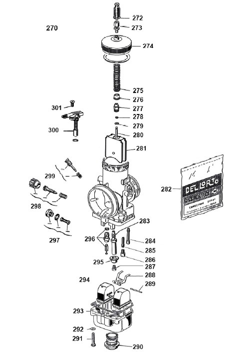
Kz1, kz2, Kz Under, Over, prodriver e tutte le moltissime altre categorie 125 con il cambio, utilizzano carburatori da 30 VHSH Dellorto.
Come funziona un carburatore
Dentro quella piccola vaschetta del carburatore del tuo kart, esiste un vero mondo di possibilità di carburazione, secondo me infinite. Nel suo interno, troviamo un polverizzatore, uno spillo, un getto del minimo, un getto del massimo, un galleggiante, delle guarnizioni e di sicuro mi sono dimenticato qualcosa 😅.
Quando un preparatore o il pilota stesso mette le mani nel carburatore cosa sta facendo ?
In base ai riferimenti del pilota al termine dei suoi giri di pista, e dopo presa visone dello stato della candela e stato del pistone, ci si fa un’ idea della carburazione del motore e si agisce “se serve”alla modifica della carburazione.
Taratura del carburatore
1) Abbassando lo spillo smagrisco il motore.
Lo spillo più basso crea meno spazio nel polverizzatore e quindi meno entrata di benzina.
2) Alzando lo spillo ingrasso.
Lo spillo più alto crea più spazio e quindi più entrata di benzina nel polverizzatore.
3) Metto un polverizzatore più grande ingrasso
4) Metto un polverizzatore più piccolo smagrisco
5) Getto del minimo più piccolo, il motore sarà più pulito e scattante in apertura.
Ho cercato per voi on- line qualcosa per approfondire meglio l’argomento carburatore e carburazione,e a mio parere ho trovato due video molto interessanti.
In questo video puoi vedere come funziona un il carburatore per motori due tempi spiegato veramente bene da Emanuele Sabatino il famoso Youtuber innamorato di motori.
La parte che interessa a noi sono i primi quattro minuti del video.
In questo video della durata di 13 minuti, puoi vedere nel dettaglio tutti i componenti del carburatore Dellorto VHSH 30 per Kz TM. Personalemte ringrazio lo Youtuber RobyAyrton karting per questo video molto dettagliato.
Ho pensato che potrebbe tornarvi utile anche la scheda tecnica del carburatore 30 VHSH Dellorto. Come già detto i componenti di un carburatore sono moltissimi.
Se vuoi sapere anche il nome di ogni componente del carburatore puoi cliccare in questo link https://www.superkart.it/images/Schede%20tecniche/TM_K9C/VHSH30CS.jpg
Un’altro link UTILE dove trovi il manuale della Dellorto VEDI IL MANUALE utile per approfondire il più possibile la conoscenza del carburatore e la carburazione del kart kz .
In questa foto rubata al famigerato Team Galiffa, possiamo vedere tutti i componenti del Carburatore Dellorto WHSH e con quale accuratezza si lavora attorno al caburatore.
Carburazione KZ Motore 125 R1
Grazie ai miei amici, veri esperti e operatori del settore, in questo articolo sul carburatore posso fornirvi anche delle tarature complete per carburatore kz.
N.B. Io e gli operatori che hanno fornito le tarature per carburatore KZ NON ci riteniamo responsabili di qualsiasi rottura del tuo motore 🙂 ogni kartista sa bene che tutto può succedere.
VIAA!!!
Partiamo con le tarature
Viti Racing
Preparatore -Leonardo Viti
Emulsionatore B100
Getto del minimo 75
Polverizzatore Dq266
Getto del massimo 140
Valvola Gas 55
Spillo U12
TSC Corse
Preparatore – Andrea Palazzi
Getto del minimo int.48
Getto del minimo est, 60
Polverizzatore Dq270
Getto del massimo 175
Valvola 50
Spillo k28 2à tacca
Spillo vaschetta 300
Vite aria aperta di un giro e 1/4
Altezza galleggiante 13,5 mm

Galiffa Kart
Preparatore – Franco Galiffa
Spillo k3
Polverizzatore DQ 266
Emulsionatore cd1
Minimo60
Massimo 152
Valvola 50
Vite aria 2giri
Valvola spillo 300
Livello 14 mm
Ghidella Racing
Preparatore – Matteo Ghidella
Spillo k28 tutto grasso
Ghigliottina 50
Polverizzare dq 266
Getto massimo 180
Minimo interno b 100
Emulsionatore esterno 65
Galleggiante 14 mm
Vite aria 2 giri
Valvola a spillo 300
Per maggiori info sulle tarature puoi lasciare un commento in fondo all’articolo.
Questa parte con le tarature per carburazione Kz sarà costantemente aggiornata quindi torna a trovarci ogni tanto 🙂
Carburatore per categoria 60 Mini Kart
I carburatori utilizzati nella 60 Mini Dellorto PHBG 18, sono i prescelti per la categoria, anche in questa categoria la nota Azienda di carburatori Dellorto, detiene l’esclusiva.
Ecco la sigla che deve essere incisa sul carburatoe “BSR2523”. Con questa sigla potete essere sicuri che state utilizzando il carburaotre esatto sul vostro kart 60, ho specificato la sigla perché carburatori sempre della Dellorto, praticamente simili, sono utilizzati e montati anche su scooter ma con sigle diverse.
Scheda tecnica esploso Dellorto PHBG
Carburatore per Categoria 125 senza cambio OK -JUNIOR
Il carburatore a membrana mi ha sempre affascinato, regolare la carburazione mentre si guida, più meno benzina, più meno aria. Ci vuole orecchio miei cari. Solo due viti per regolare l’intera carburazione, la vite verso il dietro del carburatore regola la carburazione ai bassi, mentre la vite avanti regola la carburazione agli alti. Per smagrire le viti si stringono e per ingrassare si allentano. Più è freddo e più svitiamo perché dobbiamo ingrassare, più caldo più avvitiamo perché dobbiamo smagrire.
Si lo so 😄 vi ho spiegato veramente poco, ma ogni situazione è diversa, ad esempio va considerata anche la pressione dell’aria che varia in base all’altitudine in cui ci troviamo.
A differenza delle altre categorie, come nella OK è si obbligatorio un carburatore a membrana, ma non la stessa marca del carburatore. IBEA, TRYTON E TILLOTSON sono tra i più utilizzati.
Sapete che non mi piace lasciarvi insoddisfatti e delusi 🤣 ma essendo sempre stato un pilota Kz ho pochissima esperienza con questo tipo di carburatore, ma per farmi perdonare ho ricercato un articolo che ci potesse aiutare a capire qualcosa in più, è un articolo datato ma la base è corretta http://www.kartcafe.it/showthread.php?t=10342
Come pulire il carburatore del kart
La costante pulizia del carburatore del tuo kart è obbligatoria. Come hai potuto vedere nel video precedente e sicuramente già sapevi, il carburatore è piccolo ma molto complesso, con moltissimi componenti, viti, guarnizioni, molle spilli, getti ecc.
Pulire il carburatore ti assicurerà il suo corretto funzionamento durante i tuoi turni di prove o gara in pista.
Per metterti all’opera nella pulizia del carburatore ti occorreranno pochi, semplici fondamentali attrezzi e oggetti.
Benzina, vaschetta, pennello, aria compressa, e gli attrezzi per smontare e rimontare il carburatore.
Diverso è il motore e diversa è la carburazione
Carburazione TM K9 – TM KZ10 – TM R1 – Modena – Vortex – Iame – Rotax ” ne elenco solo alcuni” molti sono i marchi di motori per kart e ognuno si adatta meglio a una carburazione che a un’ altra, anche se il carburatore è sempre lo stesso. Per non sbagliare, se non si dispone di un preparatore, quando si acquista un motore, è sempre meglio chiedere agli addetti ai lavori se la taratura del nostro carburatore è ok.
Se non conoscete nessuno, io conosco diversi preparatori, basta chiedere, sono tutte persone che non vi negherebbero assolutamente 5 minuiti “gratuiti”del loro tempo per rassicuravi che state utilizzando una carburazione corretta per il modello di motore che avete.
Qualcosa sull’azienda produttrice di carburatori DELLORTO.
La Dell’Orto SPA
Questo articolo non ha lo scopo di pubblicizzare l’azienda DELL’ORTO, ma dato che la DELL’ORTO copre con i suoi carburatori il penso almeno il 70 % del settore karting mi sembrava giusto avere qualche info e dettaglio in più.
informazioni prese dal sito ufficiale www.dellorto.it
Nata nel 1933 in Brianza a Seregno, si è poi trasferita a Cabiate. La modernità e il suo spirito sportivo e grintoso ritornano anche nella costante presenza dell’azienda nelle competizioni sportive – come il Motomondiale dal 2012, nonché nelle ultime novità, come l’introduzione della linea di abbigliamento: una linea fresca e giovane, smart e dinamica. A luglio 2017 la Dellorto diventa distributore esclusivo della linea Eni i-Ride, una gamma di lubrificanti di qualità superiore creata da Eni per soddisfare le esigenze di ogni tipo di moto. A febbraio 2018 viene siglata una joint venture con Varroc per rafforzare ulteriormente la presenza di Dellorto in India. Nel 2019 nasce una collaborazione con Energica Motor Company per la realizzazione e commercializzazione di una nuova Power Unit destinata a moto elettriche di piccole e medie dimensioni.
Ho trovato interessantissimo sempre sul sito DELLORTO, la pagina con tutti i modelli dei carburatori prodotti.
https://www.dellorto.it/it/prodotti/carburatori/
Chi ha inventato il carburatore per motori a due tempi?

Il carburatore per i motori a due tempi è stato inventato da Karl Benz nel 1885.
Karl Benz è stato un ingegnere tedesco e uno dei pionieri dell’automobile. Ha fondato la sua azienda nel 1883 e ha brevettato il suo primo veicolo a motore nel 1886. La sua invenzione del carburatore per i motori a due tempi è stata un passo importante nello sviluppo dei motori a combustione interna e ha aperto la strada alla produzione di automobili più efficienti e affidabili.
Spero che il mio articolo ti sia stato utile.
TIRAMOLLE PER MARMITTA GO-KART
UTENSILE PER PULIZZIA CARBURATORE
WD40 CONFEZIONE DA 500ML 6 PEZZI
Potrebbero interessarti anche questi 2 articoli
Perché questo blog?
Mi chiamo Ivan Costieri, nato nel 1975 .
Dal 1983 ho partecipato come pilota a oltre mille gare, ho aperto e gestisco piste di go-kart, un team, organizzo campionati e eventi karting agonistici e amatoriali. Ho fondato nel 2002 il sito n1 del settore kart www.vendogo-kart.it . Ringrazio mio padre Sauro Costieri e mio figlio Russell Costieri per aver sempre collaborato e contribuito alla mia carriera e a tutto questo. Penso di aver molte esperienze vissute sul campo da raccontare e mi farebbe molto piacere se vi tornassero utili.











Mauro
Buona sera queste taratura con che temperature sono state fatte grazie per la vostra disponibilità
Ivan Costieri
Buongiorno Mauro e grazie per il tuo commento.
Sono carburazioni ottime periodo invernale , ma valide anche in altri periodi anche più caldi. Chiaramente bisogna andarci un po dietro togliendo o aggiungendo qualche punto.
Tengo sempre a precisare per la questione carburazione che ne io ne i preparatori che me le hanno fornite ci assumiamo responsabilità 🙂
Ogni kartista sa bene che le possibilità di rottura del motore sono infinite anche con la giusta carburazione.
Paolo
Buongiorno mi sapreste consigliare una taratura con il clima estivo ?